源泉泵业专业生产销售混流泵_轴流泵

产品系列
·混流泵
·混流泵配件
·轴流泵
·轴流泵配件
·离心泵
·配套零件
·自吸泵
·混流泵性能参数表
·SZG-8真空泵
·轴流泵性能参数表
·圬工轴流泵(苏排泵)
·水泵机组
·混流泵性能曲线图
·轴流泵性能曲线图
13016515179
当前位置:首页 >> 新闻中心

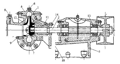
单级单吸卧式离心泵结构图

[2013-4-29] [收藏本页] [新闻来源 www.ycyqby.com]

离心泵的类型很多,型号各异,但其主要的零部件组成和作用基本相同。下面以单级单吸卧式离心泵为例,介绍一下各个零部件的作用、材料和组成,如单级单吸卧式离心泵结构图所示:

单级单吸卧式离心泵结构图

单级单吸卧式离心泵结构图
 1一叶轮 2—泵轴 3—键 4一泵壳 5—泵座 6—灌水孔 7—放水孔 8—接真空表孔 9一接压力表孔 10一泄水孔 11一填料盒 12—减漏环 13—轴承座 14一压盖调节螺栓1 5—传动轮

下一篇:水泵与水泵站在给水排水工程中的作用 返回列表
版权所有:盐城市源泉泵业有限公司|混流泵,卧式混流泵 苏ICP备13019374号-1
联系人:杨经理 移动电话:13016515179 电子邮箱:30876083@qq.com
公司地址:江苏省盐城市新洋经济区新圩路28号 联系电话:086-515-88875179 图文传真:086-515-88875179